PRL-100系列阻旋式料位開關指示燈/脈沖觸點信號電路的接線方法如下:
1、帶指示燈系列
-葉片旋轉,指示燈亮。(當葉片旋轉時,指示燈就被點亮)
-葉片停止旋轉。

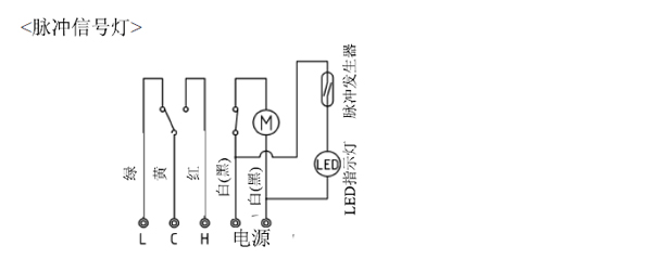
2、脈沖信號燈
葉片旋轉1分鐘/分為6個脈沖

3、脈沖觸點輸出
葉片旋轉1轉/分,輸出6個脈沖,從內部機械機制的2P接線端子引線出來。
額定值
觸點最大容量:25W
最大開關電壓:1000V DC
最大開關電流:1A
4、帶連接器
室內(型號:PRL-100KC)
室外(型號:PRL-100KW)
觸點a和觸點b用于觸點輸出連接。請劃定觸點并且接線正確以便應用。在室外環(huán)境中所用的連接器是防水類型的。

詳解日本TOWA料位開關的脈沖觸點信號電路接線注意事項,日本東和,東和TOWA,日本TOWA